
移動驗房小程序系統是創軟科技為四川琛龍定制開發的第三方移動驗房小程序,通過小程序鏈接地產開發商、承建商、第三方監理,針對建筑工地、精裝房工地管理統一使用一套系統進行房屋質量驗收和交付。
移動驗房小程序通過小程序及移動APP融合驗房標準、常見問題、常用描述,以幫助驗房工程師快速登記問題,并快速下發到承建商整改,實現問題早發現早處理,以達到快速交付的條件;通過完整的統計分析,有力支撐企業的缺陷改進,為打造高質量精裝房提供了有力支撐。
工作臺是實際操作前段安排的主要模塊,通過對項目管理等信息的導入;承建商施工分配;驗收項目的安排及驗收詳情的查看均在工作臺完成。由于一個樓盤項目數據龐大,會涉及到不同的樓棟單元、戶型、房間號、承建商也可能會由幾家一起合作,驗收批次的不同時間段安排,如果用傳統的管理方法,可想而知紙質文檔可能都要幾大摞,這給開發商、監理、承建商整改人員都帶來瑣碎繁雜的龐大工作量,同時如果這個環節出錯,那么業主在接房時一旦拒收,那么我們的驗房程序又將重復再做一遍。大量的時間成本和人力成本都將造成極大的損失。
通過琛龍移動驗房系統,我們將所有的樓盤項目、戶型、樓棟單元、房間戶型、承建商、開發商、第三方監理都用一套系統進行管理。由紙質檔案管理轉為線上管理,隨時可查,無須在眾多文件中查找翻閱。
樓盤項目管理主要是將所有開發商的樓盤進行錄入,可按樓盤添加不同期數,進行統一管理,【添加、修改、刪除】
添加:添加樓盤信息、開發商名稱、具體地址
項目戶型管理自動關聯樓盤信息,根據樓盤項目添加戶型、期數、上傳戶型圖等信息,同時可手動繪制戶型圖各個房間名稱,給驗收工作帶來更多便利。
承建商檔案管理是用于整改人員負責人的管理,用于后期監理驗房時選擇整改負責人,這樣利于后期查詢每個項目相關的負責人員,人員明確,職責分明,
承建商施工分配是可將樓盤項目分配給多個承建商,用于后期監理驗收選擇負責整改單位,具體項目具體人員負責,讓整改信息更加精準。
驗收批次管理可將項目驗收按計劃分批次進行驗收,可設置起止時間,讓驗收時間控制在可控范圍內,監理的工作效率也在無形中得到體現,不再出現以前驗收時間混亂和不同批次驗收相互交叉的混亂現象。
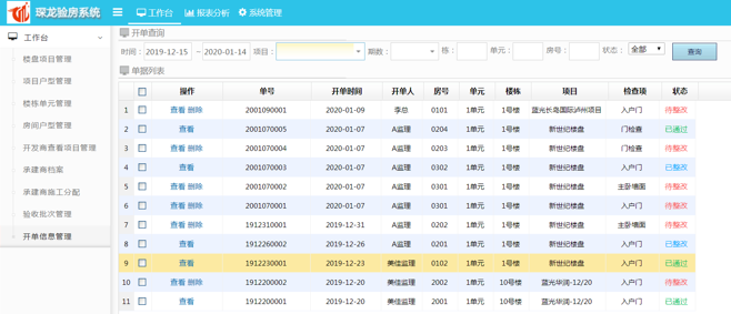
開單信息管理是監理所開整改單的信息管理,相關人員通過此模塊可以查看監理所有開單的整改狀態,同時還可刪除無效的整改單。采用多種條件進行篩選查詢:項目、期數、樓棟、單元、房號、狀態。讓查詢更加快速與精準。
報表分析將所有驗收項目的整改狀態統一生成一張報表,我們可以通過此報表了解所有樓棟房間驗收詳情,從而得出通過率,不用再做表格統計,同時系統生成表格是實時更新,不像人工統計有延時的弊端。
系統管理是后臺搭建的一個重要管理模塊,有部門管理、崗位管理、員工管理。部門管理可添加多個部門進行分部門添加員工,實現系統化人力管理;崗位管理是可根據不同的崗位性質設置對應的崗位權限,滿足不同崗位的操作權限和查看權限,數據保護更嚴謹;員工管理可為相關的負責人設置登錄賬號和密碼,實現系統操作的前提條件。
基礎資料是進一步完善驗收項目內容詳情的補充,方便操作時可自動讀取進行手動選擇,無須再手動輸入,讓內容更規范,查詢更簡單。
其次使用定制開發微信小程序系統操作摒棄下載APP安裝包的不便之處,用微信操作更簡單快捷。

使用賬號密碼或是綁定微信后自動完成登錄,第三方監理與承建商即可根據具體項目進行驗收與整改,所有操作內容即刻完成對接,監理可根據具體項目精裝房調教驗收詳情,同時上傳相關附件
監理在進行驗收時直接打開微信小程序,找到相應樓盤項目及需要驗收樓棟選擇房號,點擊對應的房間就可完成驗收操作,所有的檢查項都是手動選擇,無須手動輸入,不同狀態的整改信息通過顏色區分,操作時一目了然。
監理在驗收時,只需要點擊相應的空間自動彈出驗收明細,所有數據自動保存至系統進行歸檔,可隨時查看
提交附件還可自動上傳拍照時間與地址等水印,讓數據真實性得到進一步體現
監理將驗收詳情點擊提交后,所有數據自動傳輸至整改人員賬號,告別了提交紙質檔案和圖片附件等繁雜手續,讓工作效率大大提高,也讓數據更加利于保存,以往使用紙質檔案時還可能出現房間號或是戶型不匹配,驗收內容不規范,導致整改人員辦事效率低,浪費時間和人力反復做相同的工作。使用微信小程序驗房后所有數據精準定位,數據傳達及時快速。讓驗房工作得到順利展開。
以下截圖為整改人員自動接收監理下達的驗收詳情,根據提示完成整改任務
完成后的驗房整改,我們還可通過小程序查看整個驗房的處理記錄。

以上所有功能模塊構建了一套完整的驗房體系,讓每個工作環節環環相扣,自動銜接,告別紙質辦公的局限性,琛龍裝飾驗房系統讓驗房也成為一件既輕松又愉快的工作。