

項目在涉及到成本管理時主要有材料成本、勞務成本、措施成本,此外還有對公司運營成本的管控,如何將各項成本管控在一定范圍內,同時還可將各項數據自動生成報表統計,只需要一款項目管理軟件就能實現線上智能管理,成為您辦公好幫手。
美佳項目管理軟件針對項目成本管控將材料、勞務、措施等設置成本總計劃,所有日常請款、材料請款等通過線上流程審核,讓工作效率得到大大的提高,此外材料請料數量可在總計劃中設置計劃數量,勞務請款等設置總計劃后,如有超量系統自動預警進行智能提醒。數據統計更精準,不會因為人為因素出現數據偏頗。所有數據有源可溯。每個辦公環節通過系統都可自主進行銜接,系統操作簡單易上手。
材料管理模塊通過材料用料與材料付款之間進行自動銜接,同時材料采購與供貨商之間做了無縫銜接的管理,可通過線上下采購單給供貨商,供貨商可通過移動辦公方式進行線上接收采購單和發貨等操作,實現無紙化辦公。
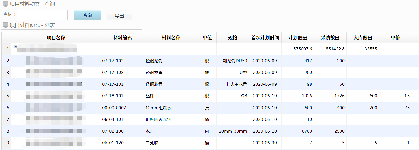
項目管理軟件中針對材料管理通過材料計劃實際動態、項目材料動態兩個報表,自動統計材料在各個項目中的領料詳情,是否超量,入庫數量出庫數量等材料動態詳情,均可通過統計報表第一時間進行掌握。

