

工裝企業管理軟件已成為行業內大家公認使用的一款辦公軟件,通過軟件我們將各項成本進行了有效把控,不管是勞務成本還是材料、措施、運營各個環節都得到了有效管理并且進行及時預警的智能提醒功能。
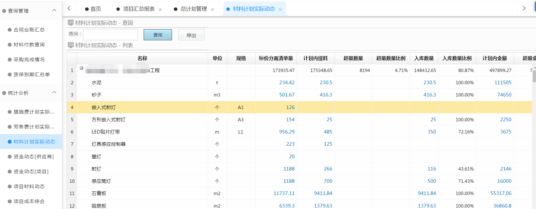
美佳工裝管理軟件通過各個版塊的實操針對性的解決了哪些問題呢,首先我們先從材料成本管控了解。材料管理我們針對項目材料總控中數量、成控價兩個維度進行精準把控。材料總計劃由成控部門錄入具體的材料名稱、總計劃數量、成控單價、成控總價系統自動計算,完成此項工作后線上走流程,我們通過手機微信端小程序自動接收審核提醒并可直接跳轉至待辦界面,移動辦公隨時可操作,進一步提高了大家的辦公效率。

材料分批計劃在材料總計劃的管控下有序進行材料申請,如超出總計劃范圍可自動生成超量計劃,超出總控范圍的材料申請會自動提醒相關負責人,完成對此單的審批意見,實現超量材料需求計劃第一時間通知各部門領導。每一步操作都是與上下游工作進行了有效對接??筛咝p少后面環節的辦公難度。所有辦公環節自動打通,同時還可生成相應的匯總報表。我們可通過這些報表數據很直觀的知曉項目運行中各個辦公環節和數據變幻的信息。例如材料管理這個版塊我們通過統計分析表中材料實際動態,資金動態等報表查看材料成本的支出。
